Ваш город ?
Транс СтартерКорзина

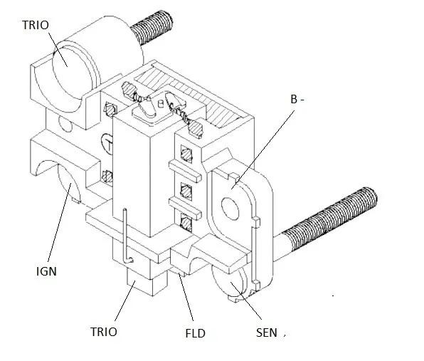
Регулятор TT31479 PRO

Нет в наличии
АртикулTT31479 PRO
Напряжение12 V
Рабочее напряжение14.5 V
ПодключениеL-IG-S
Тип питания регулятораTrio
Режим работыA
Расстояние между монтажными отверстиями43 mm
ИсполнениеMITSUBISHI
EAN138436250214904
Ширина упаковки0.11 m
Высота упаковки0.04 m
Глубина упаковки0.1 m
Масса0.062 kg
Справочная информация
12V;Mando; ;
Кросс-номера и комплектующие
TT31479
TT
IM288
ASKA
136742
CARGO
F032136742
CARGO
6659393
MANDO
VR-H2009-75
MOBILETRON
IA4982T
MONEA
SM31479
SAEMOTO
IM288
TRANSPO
YR705
UNIPOINT